Intel-Prozessoren - der i8085 history menue

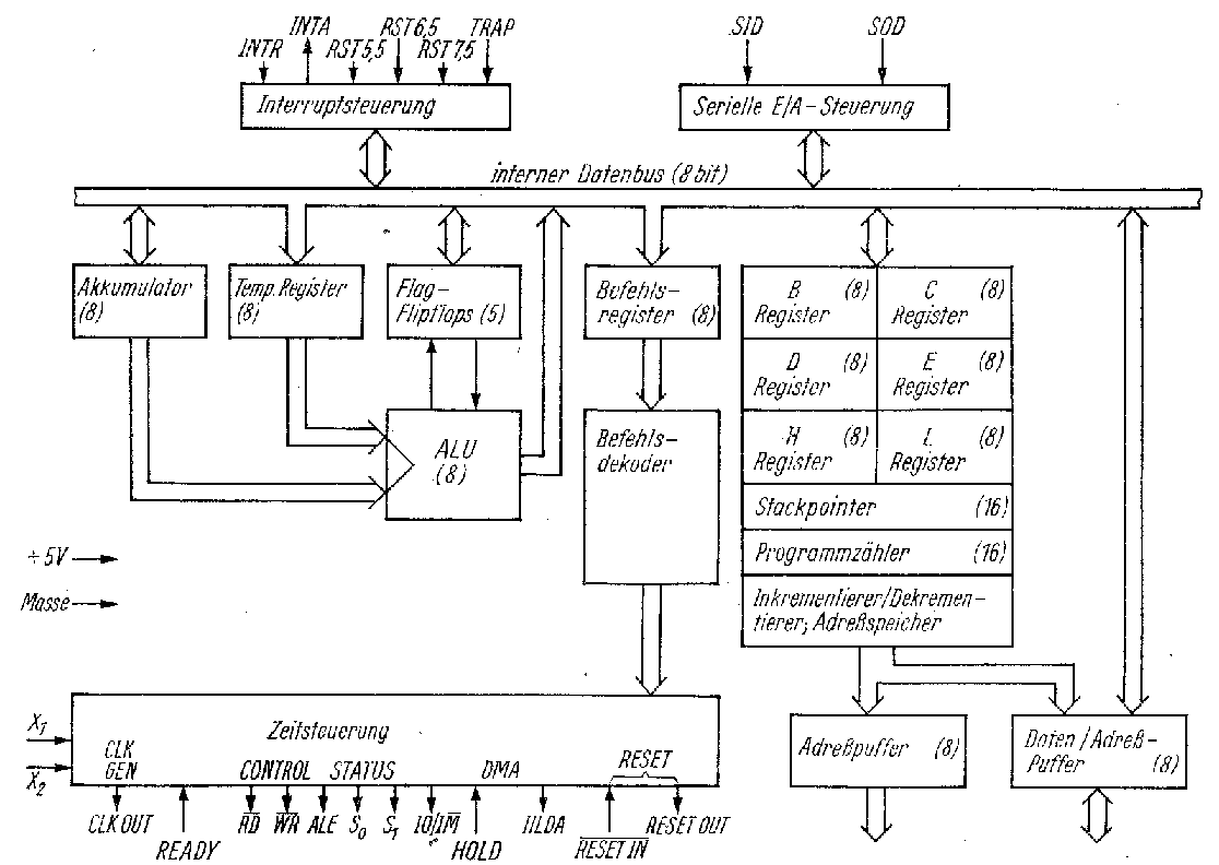
Blockschaltbild des 8085A